长辈版
无障碍
繁体中文
您的位置:
首页
> 宿州市埇桥区人民政府
>
生态环境领域
>
行政审批
>
污染物排放许可
信息分类:
内容分类:
污染物排放许可
发文日期:
2022-07-21 10:23:30
生成日期:
2022-07-21 10:23:30
生效时间:
废止时间:
发布机构:
宿州市埇桥区人民政府
文 号:
名 称:
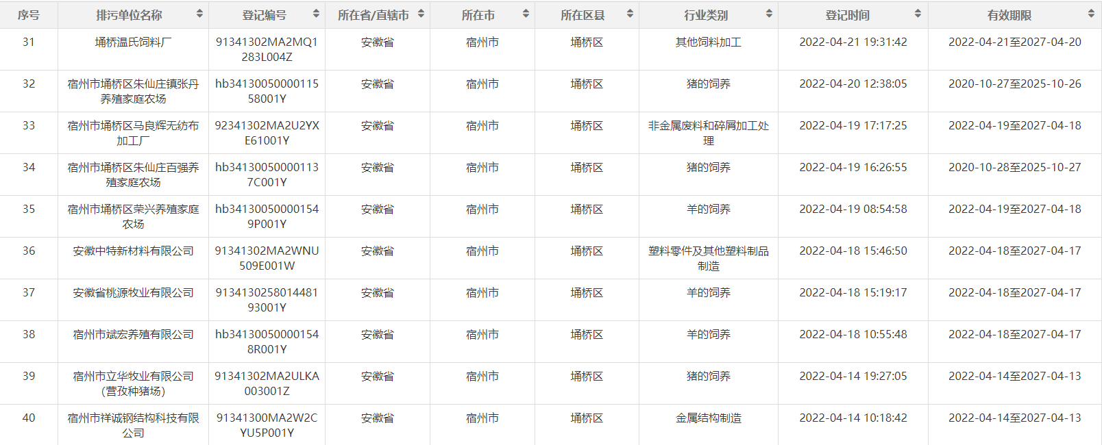
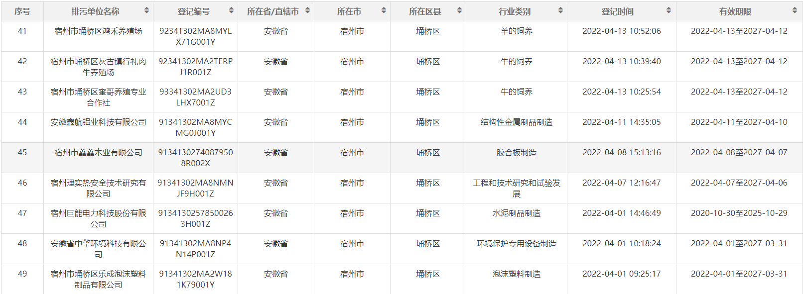
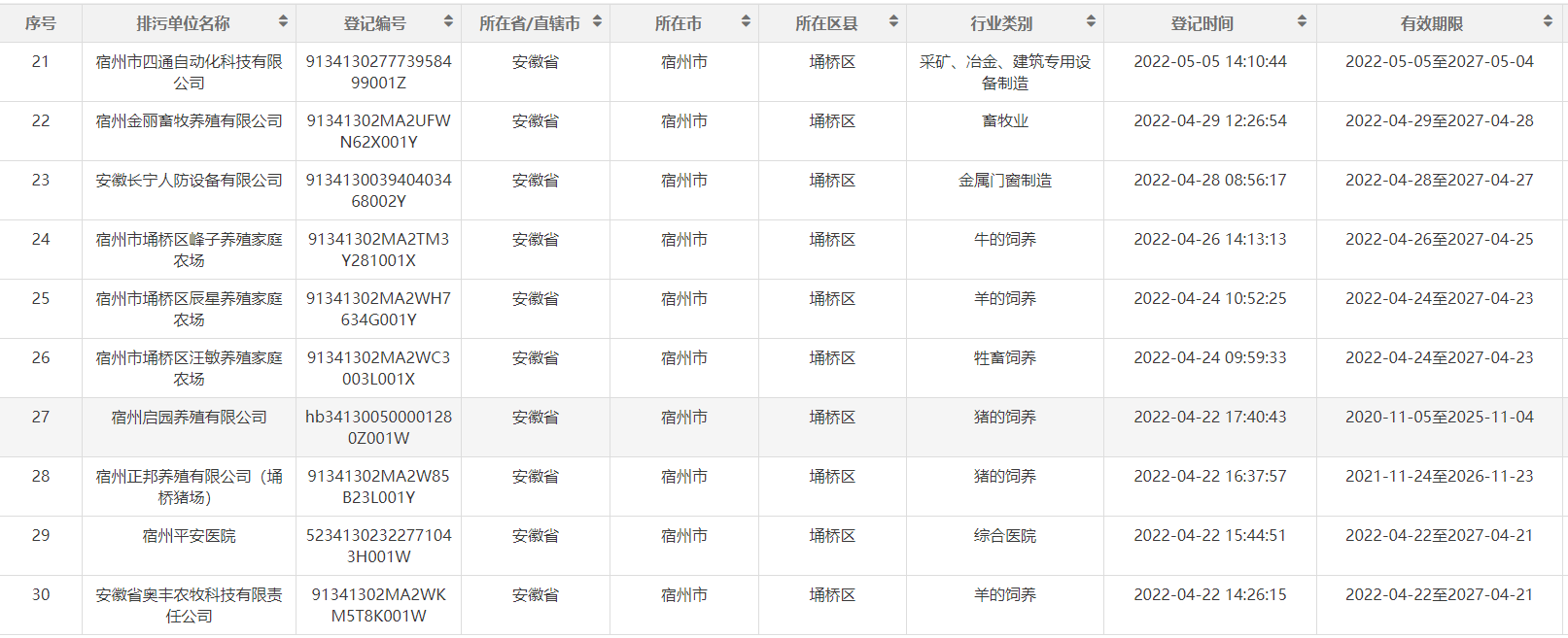
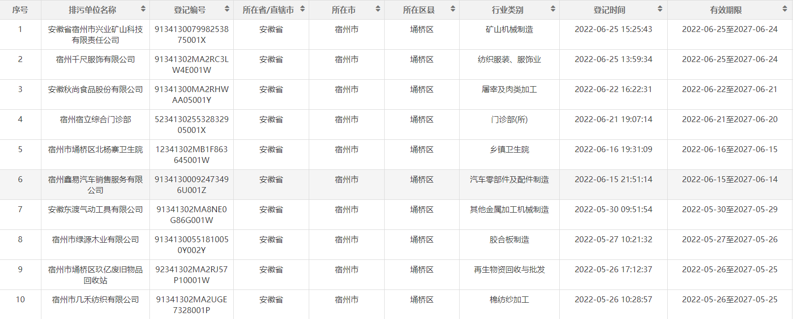
2022年埇桥区生态环境分局第二季度排污名单
关
键
词:
2022年埇桥区生态环境分局第二季度排污名单
文章来源: 宿州市生态环境局埇桥分局
浏览量:
发表时间:2022-07-21 10:23
责任编辑: 生态环境局埇桥分局
字体大小:
【
大
中
小
】
map