长辈版
无障碍
繁体中文
您的位置:
首页
> 大泽乡镇人民政府
>
社会保险领域
>
社会保险登记、参保信息维护、缴费申报、缴费记录查询
信息分类:
内容分类:
社会保险登记、参保信息维护、缴费申报、缴费记录查询
发文日期:
2024-07-19 11:40:16
生成日期:
2024-07-19 11:40:16
生效时间:
废止时间:
发布机构:
大泽乡镇人民政府
文 号:
名 称:
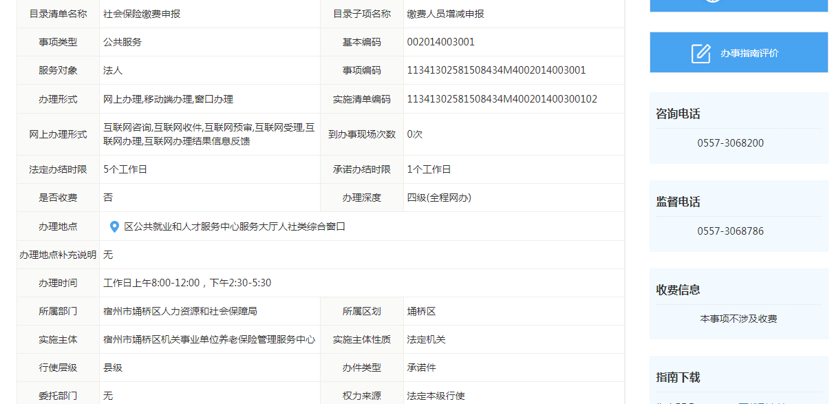
【社会保险缴费】缴费人员增减申报服务指南
关
键
词:
【社会保险缴费】缴费人员增减申报服务指南
文章来源: 大泽乡镇人民政府
浏览量:
发表时间:2024-07-19 11:40
责任编辑: 大泽乡镇人民政府
字体大小:
【
大
中
小
】
map